[生活、机械类] 车用减震器(摩托.汽车均可)气式

2009-7-10 07:15
24700
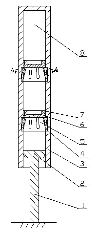
该技术能在保证舒适度的情况下提高车辆通过高度,减少过弯偏幅度能做到软硬介施 能在遭遇大的震动时起到比较好的(适合越野车)减震效果,且结构简单 造价低廉
专利号:200820145370.4
专利名:减震装置
邮箱:wyuna987@yahoo.com.cn
Q:308702602
电话:13400596321
联系人:李坚
2655320320.jpg
分享到 :
0 人收藏
您需要登录后才可以回帖 登录 | 立即注册

本版积分规则

QQ|( 冀ICP备05010901号 )|博派知识产权

Powered by Discuz! X3.4 © 2001-2016 Comsenz Inc.

返回顶部